Fiche Architecture
Atelier 3 : Fiche Architecte
Typologie de produit, dans la fiche générale.
Quels sont les points de vigilance sur chacune des topologie d'alimentation : Couts, réparabilité, Matériaux, Puissance,
| Topologie 1 : | Topologie 2 | Topologie 3 | ||
| Puissance | ||||
| Matériaux | -- | |||
| Rendement | ||||
| Réparabilité | ||||
| Couts | ||||
| Points de vigilance | ||||
| Encombrement |
Points de vigilance : Thermique, pas des composants
Acculturation : Comparaison de 2 topologies par ACV dans un contexte similaire ? Exemple Alim abaisseur de tension 12V->5V 5W : Alim à découpage VS régulateur de tension.
Check list :
FaQ :
1. Topologies
1.1. Linéaire
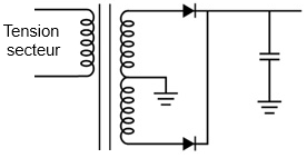
1.1.1. Alimentation secteur (AC/DC)
Ces alimentations mettent en oeuvre des transformateurs et un circuit de redressement et filtrage. Ce sont généralement des solutions abaisseuse. En dépit du cout et du poids des transformateurs, ces alimentations sont encore privilégiées dans les domaines de l'alimentation de précision (certains équipements médicaux par exemple) ou pour la conception d'équipements audio de grande performance.
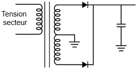
Le schéma bloc d'une alimentation secteur linéaire est donnée dans le schéma ci-dessous:
Le transformateur abaisseur génère une tension alternative dont la valeur crête est supérieure à (Vout x Ö2) avec Vout la valeur RMS de la tension de sortie souhaitée. Il existe différents types de transformateurs avec des circuits magnétiques dans des matériaux et des formes différentes plus ou moins optimisés pour des applications spécifiques.
Le bloc redresseur permet d'obtenir une tension positive en sortie. On distingue différents types de redresseurs :
- Redressement mono-alternance (half bridge)
![]() |
C'est la topologie de base. Seule l'alternance positive est redressée et contribue à la génération de la tension de sortie. |
- Redressement point milieu (Center-tapped)
- Redressement double alternance (full bridge)
Le filtrage permet de lisser la tension redressée. La version la plus basique est un condensateur électrochimique de très forte valeur, mais il subsiste une ondulation importante en sortie.
Par assurer une tension stable et constante en sortie, le bloc régulateur est ajouté en sortie. Il s'agit d'une régulateur linéaire.
1.1.2. Alimentation DC/DC
L'alimentation linéaire en continue ne permet de réaliser qu'un régulateur abaisseur.
On distingue 2 grandes familles d'alimentation linéaires : les régulateurs Shunt et les régulateurs Série.
1.1.2.1. Régulateur Shunt
Le régulateur Shunt est la topologie la plus simple. Le composant de régulation est positionné en parallèle avec la charge. Il est adapté principalement à la génération de relativement faibles courant (20mA à 100mA) en raison de pertes importantes.
La version de base est la diode Zener comme présenté sur la figure ci-dessous. L'avantage est la simplicité de la mise en oeuvre,. Ce circuit est bien adaptée pour les tension élevées et courant faibles. Il régule la tension de sortie dans la charge en maintenant constant le courant la traversant et en conduisant le courant en excès vers la masse à travers l'élément parallèle (la diode Zener ici).
Les pertes sont dues à la dissipation par effet Joule dans la résistance R3 (R3 = (Vin-Vout)/Iout_max) et en l'absence de charge à la dissipation du courant dans la diode Zener:
PR3 =(Vin - VZ) . Iout_max
PDZ = VZ . ((Vin - VZ) / R3 - Iout) avec un maximum en l'absence de charge : PDZ_max = VZ . ((Vin - VZ) / R3)
Une variante est le régulateur Shunt intégré avec un asservissement de la tension de sortie à une référence de tension. L'utilisation d'un référence précise et stable en température de type Bandgap permet d'obtenir une tension de sortie très précise et stable.
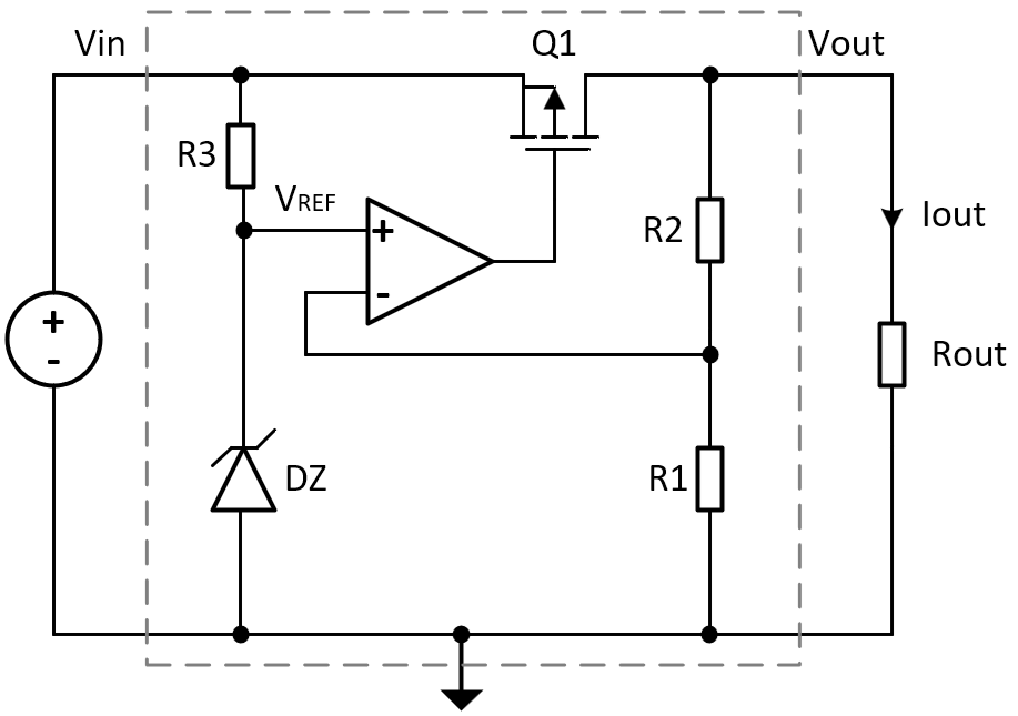
1.1.2.2. Régulateur Série
Le principe du régulateur linéaire est présenté sur la figure suivante:
Un portion de la tension de sortie prélevée avec le pont diviseur R1R2 est appliquée en entrée du comparateur A dont l'entrée négative est connectée à une référence de tension. Le comparateur contrôle le transistor pour asservir la tension de sortie à la valeur souhaitée.
Les LDO sont une technologie avancée de régulateur linéaire qui présentent une très faible chute de tension entre entrée et sortie (Dropout) qui permet de minimiser les pertes.
En effet, la chute de tension entre entrée et sortie est dissipée dans le transistor sous forme d'effet joule.
Exemple:
| Tension d'entrée : Vin = 12V, | ||
| Tension de sortie : Vout = 5V | Courant de sortie : Iout = 0.5A | |
| Régulateur LM7805 | Tj_max = 150°C | Courant consommé par le régulateur IQ = 6mA |
Puissance en entrée : Pin = Vin x (Iout + IQ) = 6.07W
Puissance en sortie : Pout = Vout x Iout = 2.5W
Rendement = Pout / Pin = 2.5 / 6.072 = 41.2%
Pertes par effet Joule dans le transistor : P = (Vin - Vout) Iout + Vin x IQ = 3.57W
La température de jonction est donnée par la relation : Tj = Ta + [(Vin - Vout) x Iout] x RTHja
Avec la température ambiante Ta = 25°C, RTHja la résistance thermique du boitier monté sur un PCB
Ce régulateur existe en différents boitiers avec différentes caractéristiques de conduction thermique
Dans cette configuration, seul le boitier TO-220 pourrait être utilisé seul sans l'ajout d'un dissipateur.
Avantages et inconvénients principaux du régulateur linéaire:
- Simples à mettre en oeuvre, peu de composants externes
- Génère une tension stable, sans bruit, adaptée aux circuits sensibles
- Réagit rapidement aux changement de charge
1.2. Découpage
1.2.1. Buck
-
- Convertisseur à découpage, abaisseur de tension
- Limite les pertes associées au LDO (thermique)
- Présente un bon rendement de conversion
- bonne régulation de la tension de sortie
- Malgré la régulation performante et le filtrage de sortie, des composantes de la fréquence de découpage sont présentes en sortie et peuvent perturber le fonctionnement du système.
- Différents mode de pilotage et de fonctionnement :
-
- Mode continu (Forced Continuous Mode). Dans ce mode le convertisseur est toujours actif ce qui conduit à une rendement optimal dans la gamme haute de courant de sortie, mais à un rendement faible pour la gamme des faibles courants. Dans cette configuration la tension de sortie est bien régulée à la valeur souhaitée quelque soit le courant de sortie.
- Mode PFM ou Eco-mode ou Pulse Skipping Mode ou Power Save Mode. Ces modes proposés de plus en plus couramment permettent d'améliorer fortement le rendement sur toute la gamme de courants de sortie, mais la régulation est moins performante sur les faibles courants avec une discontinuité de la régulation et une ondulation plus forte.
-
- Le schéma de principe d'un convertisseur Buck asynchrone est présenté sur la figure suivante:
| Pendant le première phase, l'interrupteur (transistor) est fermé, la diode est bloquée, le courant circule dans la branche principale, l'énergie est emmagasinée dans l'inductance sous forme de champ magnétique. | |
|
Pendant la seconde phase, l'interrupteur est ouvert, la diode devient passante et le courant emmagasiné dans l'inductance est transféré dans la charge (pas de discontinuité de courant dans l'inductance). Le condensateur permet de filtrer le signal de sortie et de limiter ainsi l'ondulation résiduelle. |
La tension de sortie est ajustée en variant le rapport cyclique de conduction de l'interrupteur.
Dans cette topologie, les pertes sont dues principalement aux éléments parasites des composants (les résistances série de l'inductance et du transistor et de la diode.
Aux plus fortes puissances, la diode présente des pertes importantes. Elle peut être remplacée par un MOSFET piloté avec un signal complémentaire du switch principal. Le MOSFET a une résistance série très faible et ne présente pas de tension directe comme la diode. On parle alors de convertisseur Buck synchrone. A l'inverse il est un peu moins performant sur les faibles courants.
La performance du circuit va résulter d'un compromis entre le choix de la fréquence de commutation et les pertes dans les composants:
- plus la fréquence est basse, plus la valeur de l'inductance est grande, donc plus le boitier sera gros ou les éléments parasites élevés, mais plus les pertes en commutation dans les transistors seront faibles
- plus la fréquence est élevée, plus la valeur de l'inductance est faible, plus le boitier pourra être petit, tout en assurant une résistance série faible, mais les pertes en commutations seront plus élevées dans les transistors.
- Pour réduire les pertes en commutation la mise en oeuvre de contrôleurs avec transistors discrets permet un gain important pour les applications de puissance, mais au détriment d'une surface plus grande de PCB.
Exemple:
Mise en oeuvre d'un Buck pour générer 5V-0.5A depuis une source 12V
| Référence | Fréquence de commutation (Fsw) | Rendement | Nombre de composants | Valeur d'inductance (L) | Surface inductance | Surface du circuit |
| LM25007 | 149kHz | 85.4% | 20 | 180uH | 204.5mm² | 300mm² |
| LMR51450 | 187kHz | 97.1% | 12 | 15uH | 652mm² | 716mm² |
| LM22675-5.0 | 500kHz | 92.7% | 7 | 33uH | 626.67mm² | 735mm² |
| TPS562203 | 500kHz | 96.5% | 12 | 4.7uH | 74mm² | 130mm² |
| LMR43620MB5-FIXED | 1MHz | 96.5% | 9 | 4.7uH | 146.4mm² | 195mm² |
| TPS562242 | 1.3MHz | 95.9% | 13 | 3.3uH | 50.4mm² | 106mm² |
| TPS62163 | 2.4MHz | 91.5% | 5 | 2.2uH | 64mm² | 94mm² |
1.2.2. Boost
- Convertisseur à découpage, élévateur de tension
- Présente un bon rendement de conversion
- bonne régulation de la tension de sortie (relativement faible ondulation résiduelle)
- Malgré la régulation performante et le filtrage de sortie, des composantes de la fréquence de découpage sont présentes en sortie et peuvent perturber le fonctionnement du système.
- Le schéma de principe d'un convertisseur Boost est présenté sur la figure suivante:
| Pendant le première phase, l'interrupteur (transistor) est fermé, la diode est bloquée, le courant circule dans la branche principale, l'énergie est emmagasinée dans l'inductance sous forme d'un champ magnétique. C'est alors le condensateur de sortie qui transfert l'énergie à la charge pour maintenir la tension de sortie. | |
|
Pendant la seconde phase, l'interrupteur est ouvert, la diode devient passante et le courant emmagasiné dans l'inductance est transféré dans la charge (pas de discontinuité de courant dans l'inductance). Le condensateur permet de filtrer le signal de sortie et de limiter ainsi l'ondulation résiduelle. |
La tension de sortie est ajustée en variant le rapport cyclique de conduction de l'interrupteur.
Les inconvénients du convertisseur Boost sont :
- génération de perturbations électromagnétiques importantes en raison du découpage rapide des courants
- il créé plus de stress sur les composants (inductance, diode et condensateur) et nécessite généralement un raing de tension supérieur
- le dimensionnement des composants est un peu plus complexe à concevoir dans cette topologie
1.2.3. Buck-Boost
1.2.4. SEPIC
1.2.5. Cuk
1.2.6. Convertisseur LLC résonnant
1.2.7. Capacités commutées (Pompe de charges)
1.2.8. Puissance partielle
1.2.9. Convertisseur Isolé
1.2.9.1. Convertisseur Flyback
1.2.9.2. Convertisseur Forward
1.2.9.3. Convertisseur Push-Pull
1.2.9.4. Convertisseur Half-Bridge
1.2.9.5. Convertisseur Full-Bridge
1.2.9.6. Convertisseur avec isolement capacitif
1.3. PMIC (Power Management Integrated Circuit)
Il s'agit de circuits intégrés qui présentent une combinaison de différentes architectures dans un boitier unique souvent dédié à une application : convertisseurs Buck, Boost, Buck-Boost et LDO. Ils sont très présents pour l'alimentation des microprocesseurs et des FPGA qui nécessitent de multiples rails d'alimentation. Il inclus aussi les solutions de séquencement nécessaire au bon démarrage du circuit.
PMIC FP09 de NXP dédié aux familles de processeurs i.MX93 et i.MX95.
PMIC MCP16701 de Microchip pour ses familles de FPGA PolarFire, IGLOO(R)2 et SmartFusion(R)2
Une autre gamme d'application est constitué des circuits fortement intégrée pour le Wearable. Dans ce cas le PMIS est optimisé pour un besoin de forte intégration. Ces circuits intègrent aussi des fonction de gestion de batterie (chargeur et gauge).
Schéma bloc simplifié de la mise en oeuvre du MAX20356 de Analog Devices dans une application de monitorage des signaux physiologiques (rythme cardiaque, bioimpédance, Taux d'oxygène sanguin), avec l'alimentation du microcontrôleur, de différents capteurs, du Transceiver radio et d'un GPS.
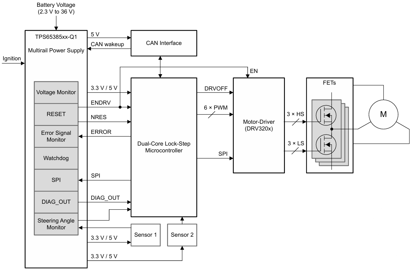
On trouve aussi des solutions optimisées pour des application complètes notamment pour l'automobile et la gestion d'éléments de sécurité.
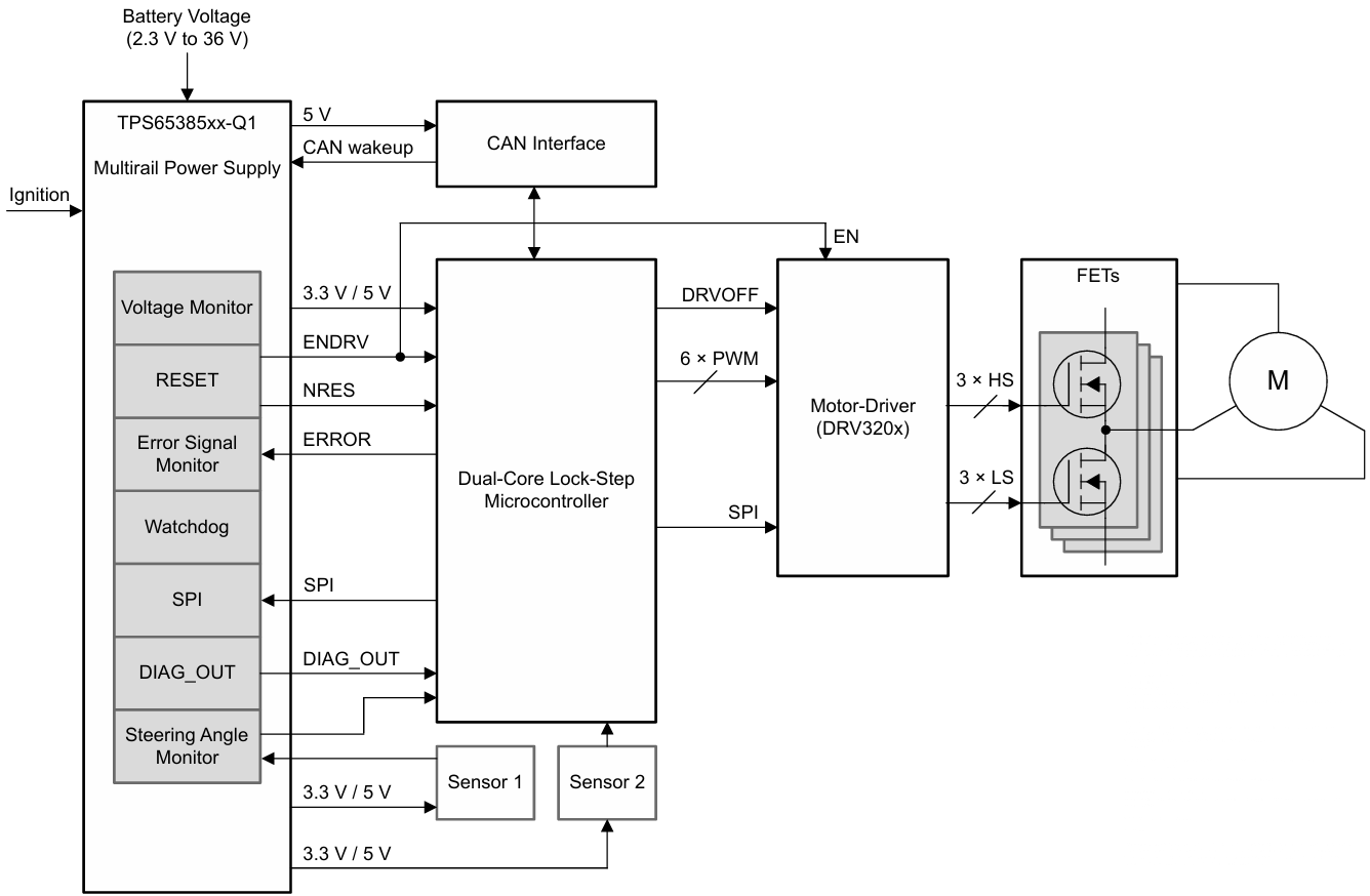
PMIC TPS65385 de Texas Instruments pour alimenter des microcontrôleurs pour des application critiques pour la sécurité.
Parmi les avantages à utiliser une telle solution:
- solution optimisée pour l'application
- forte intégration avec parfois mutualisation de composants (inductance)
- forte miniaturisation pour les applications wearable (smartwatch)
2. Synthèse
Exemples d'évaluation d'impacts environnementaux
2 mini ACV à titre d'exemple sur 2 topologies de bloc d'alim
Recommandations des industriels
à traiter, ventiler ...
|
Industriel |
Verbatim |
Etape Roue de Brezet |
|
ATLANTIC |
Piles? Batterie? Condensateur, SuperCap, Energy harvesting... |
0 ; 1 |
|
EMKA |
réduire le poids des alimentations permet de réduire les emballages car réduit de beaucoup les poids des produits (SWaP : Size Weight and Power) |
2 |
|
4MOD |
Une alimentation adaptée au dispositif. S'assurer que le moyen d'alimentation choisi soit le plus optimal par rapport aux fonctions espérées du produit. |
0 ; 2 |
|
4MOD |
Alimentation "standard" (Ex: USB-C permettant de minimiser l'impact d'un câble supplémentaire et d'un adaptateur secteur --> mettre ACV à l'appui) |
0 |
|
ATLANTIC |
Alim à découpage ou linéaire ?
|
1 |
|
ATLANTIC |
Dimensionnement (au plus juste) Comment optimiser l'arbre d'alimentation ? |
1 ; 2 |
|
BODET |
Choisir la bonne typologie de convertisseur pour maximiser les rendements (DC/DC vs LDO qui sont souvent moins efficaces) Même pour des applications ultra-low power, le choix du DC/DC peut-être pertinent et permet souvent d'allonger l'autonomie de l'équipement car le mode Boost est possible. Attention, dans ce cas précis, il faut choisir avec soin le convertisseur qui doit être prévu pour minimiser sa consommation propre (rechercher des convertisseurs plutôt orientés "Energy Harvesting"). |
1 ; 5 |
|
BODET |
Bien identifier les modes d'énergie de l'équipement (ALLUME, ETEINT, VEILLE RAPIDE, VEILLE PROFONDE, TRANSPORT, etc…) et les budgets de consommation associés. L'idée étant de pouvoir choisir les régulateurs en conséquence |
5 |
|
BODET |
Faire un arbre d'alimentation avec les rendements renseignés pour chaque régulateur (exemple d'outil Ptree, voir image ci-contre). Cf Annexes |
1 ; 2 |
|
Critères principaux de choix d'une alim externe sur étagère |
||
|
LACROIX |
ü Bon dimensionnement de la puissance ü Rendement essentiel ü Conso à vide / en veille |
5
|
|
LACROIX |
ü Capacités environnementales compatibles avec l'utilisation (pour éviter pannes juvéniles et améliorer durabilité) ü MTBF : durabilité à titre comparative |
6 |
|
LACROIX |
Masse totale + dimensions/matière boitier méca, emballage, déchets, etc. |
2 |
|
Critères principaux d'éco-conception d'une alim interne (mêmes critères que sur alim externe mais sous-ensembles où on a la main sur la conception) |
||
|
LACROIX GUILLEMOT |
ü Bon dimensionnement de la puissance § Alimentation se défini autour d'un noyau magnétique --> choix juste de la bonne carcasse magnétique qui va définir la capacité en puissance de l'alimentation (qté cuivre etc) § Choix juste de la taille des semi-conducteurs de puissance (surface de silicium) ü Rendement essentiel § Choix de topologie la plus performante selon le besoin (bon // entre courant et tension en fonction de l'usage) § Chasse aux consommations inutiles (rapport conso à vide) ü Conso à vide / en veille § Chasse au consommation inutiles (ex : circuit mal dimensionné) |
5 |
|
LACROIX |
ü Capacités environnementales compatibles avec l'utilisation (pour éviter pannes juvéniles et améliorer durabilité)
ü MTBF : durabilité à titre comparative § Choix de composant à haute durée de vie (évaluation du Failure In Time) § Evaluation de la durabilité via un plan d'essai pertinent pour trouver des pistes pour l'améliorer (ex : MTBF : durabilité à titre comparative) |
6 |
|
EMKA |
voir si plusieurs fonctions peuvent-être réalisées par un seul module (au lieu de penser un module, une fonction) |
0 |
|
|
|
|
|
|
|
|







































Par typologie de produit EE ?
No comments to display
No comments to display